Figure 37
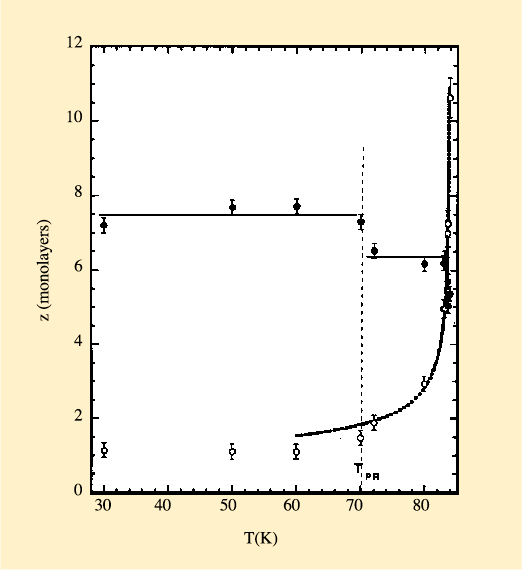
Fig. 37: Evolution of liquid (dashed) and solid (solid line) thicknesses of an adsorbed argon film as measured from X-ray reflection.
Fig. 37: Evolution of liquid (dashed) and solid (solid line) thicknesses of an adsorbed argon film as measured from X-ray reflection.